
随着飞天茅台价格的走低,贵州茅台(600519.SH)的股价也随之调整富邦配资,即将跌破1400元的关口。
6月16日,贵州茅台低开,盘中最低报1401.18元/股,上次触及该价还是今年的2月6日,当时最低价为1400.01元。
值得一提的是富邦配资,1个月前贵州茅台的股价超1600元,如今跌幅已超10%,蒸发的市值则超2500亿元。
茅台酒价格月内跌百元
据酒业数据平台今日酒价的报价,5月16日,25年飞天茅台(53度/500ml,下同)散瓶价报2080元/瓶,原箱报2170元/瓶。
到了6月16日,散瓶价报1930元/瓶,原箱报1960元/瓶。据此计算,1个月内分别跌了7.21%、10.71%。
值得一提的是,年初“今日酒价”上为3800元/瓶的生肖蛇(俗称“蛇茅”),其6月15日原箱价较上一日大跌120元至2300元/瓶,为其上市以来新低,较高位的跌幅超过了39%。
对于酒价的持续的下跌,茅台酒的经销商也在想方设法稳价。
据财联社,多位渠道人士表示,近日茅台部分省区经销商联谊会就茅台酒“稳市稳价”事项进行沟通,并达成一致意见,主要内容包括:限制向电商、批发市场、省外等部分渠道供货;经销商联谊会将加大市场巡查,对于违反相关规定的,将视情况给予包括停货、上报乃至取消合同的处理。
茅台酒价为何下跌?
据北京商报报道,白酒从业者指出,过了春节假期后便进入白酒消费淡季,在这期间富邦配资,名优白酒也会出现价格下降的情况。对于贵州茅台而言,其金融价值、投资价值支撑使其淡季价格不会下跌那么多,但当下伴随着稳价等手段,使得飞天茅台在淡季也出现批发价较大回落的情况。
值得注意的是,在白酒消费淡季,以“6·18”年中大促为关键节点的电商促销也步步冲击着飞天茅台在渠道商心中的防线。业内人士指出,近年来电商平台补贴价格严重冲击着白酒产品终端成交价格,但补贴并非常态,只为平台引流。
另据红星资本局报道,中国食品产业分析师朱丹蓬分析称,茅台价格下跌是消费年龄结构发生变化后价格的回归。
朱丹蓬称,当新生代成为主流消费群体之后,他们的消费思维跟消费行为,一直在倒逼整个产业端,以及渠道端进行创新升级。目前,新生代对于高度白酒的刚需度偏低,茅台的价格适当下降,既匹配了整个市场的具体表现,也满足了整个渠道的核心利益,但是更多的是反映了整个消费端对于高端高度白酒的一个态度。
券商依旧看好茅台
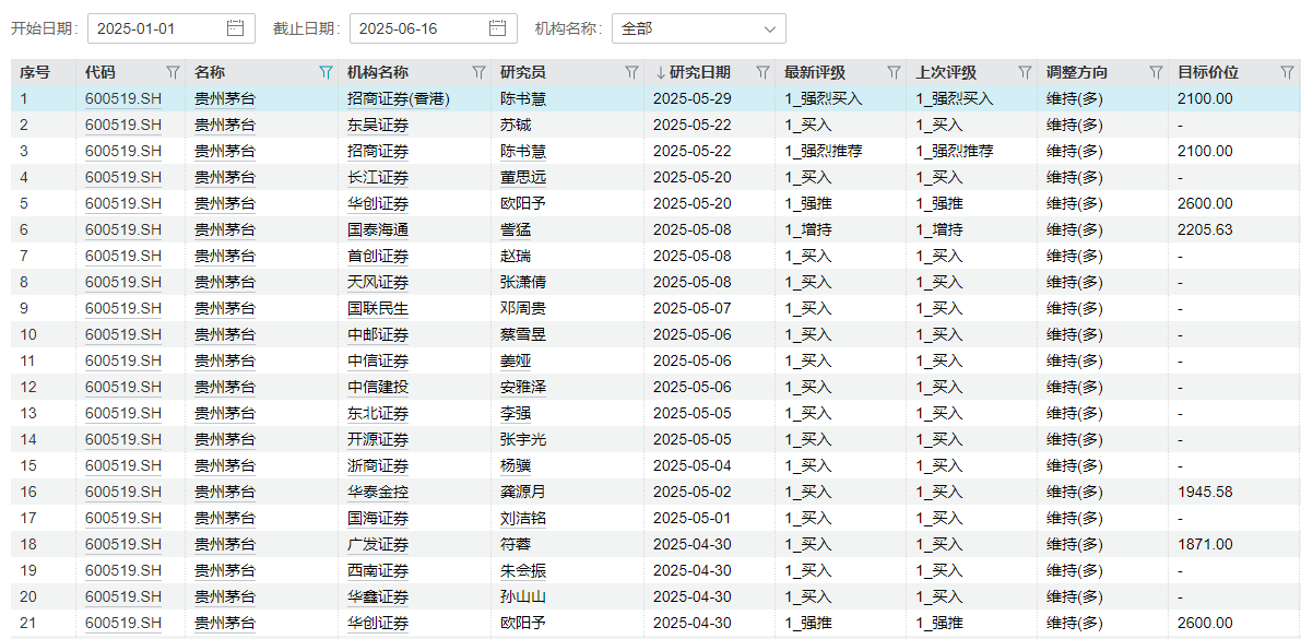
Wind显示,今年以来贵州茅台共获得92次评级,主要包括“买入”、“强推”、“增持”三大类,对比此前券商评级多维持不变。
此外,券商对贵州茅台的目标价格也是不低。如招商证券(香港)于5月29日给予贵州茅台2100元的目标价位。华创证券更是激进,于5月50日给予贵州茅台2600元的目标价位。若是按照1400元的现价计算,其最高涨幅或超85%。
需要指出的是,在去年9月跌至1200元关口时,贵州茅台推出了回购计划稳股价,随后遇到“924”行情,股价一度涨至1886.12元。
若要判断贵州茅台股价是否见底,可观望有无利好因素出现,如飞天茅台价格企稳、贵州茅台推出稳股价措施等。
21财经客户端综合自财联社、红星资本局、北京商报、公开信息
(声明:文章内容仅供参考,不构成投资建议。投资者据此操作,风险自担。)
海量资讯、精准解读,尽在新浪财经APP
责任编辑:王翔 富邦配资
杠杆配资平台提示:文章来自网络,不代表本站观点。